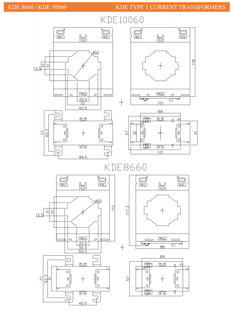
Biến dòng đo lường vuông KDE8660-1000/5-0.5-10 – Sản xuất tại VIỆT NAM
- Mã sản phẩm: KDE8660-1000/5-0.5-10
- Thương Hiệu/ Xuất xứ: KDE/ VIỆT NAM
- Thông số Kỹ Thuật
- Loại: Biến dòng đo lường vuông
- Kiểu: Hộp đúc tròn 1 pha sử dụng luồng cáp, thanh cái
- Tỷ số biến dòng: 1000/5A
- Cấp chính xác: Class0.5
- Công Suất: 10VA
- Đường kính lỗ bên trong: Phi 61mm
- Tần số: 50Hz – 60Hz
- Độ bền quá dòng: 60xIn
- Tiêu chuẩn: IEC 60044-1
----
